COREPRO LED PLC 8.5W 840 2P G24D-3 LED KOMPAKTLAMP + WEE
Toote informatsioon
- Energiamärgis F
LED-, multi-LED-lamp
- Nimipinge 220 - 240 V
- Nimivool 43 - 43 mA
- Võimsustegur 0.9
- Lambi võimsus 8.5 - 8.5 W
- Pinge liik AC
- Valgusvoog 1000 - 1000 lm
- Värviesitusindeks 80-89 (klass 1B)
- Lambi kuju Toru. ühepoolne
- Klaasi liik / kate Läbipaistev
- Valguse värvus EN 12464-1 järgi Neutraalne 3300-5300 K
- Lambipesa G24d-3
- Värvus Valge
- Värvustemperatuur 4000 - 4000 K
- Kere värvus Muul viisil
- Värvi konsistents (McAdam'i ellips) SDCM6
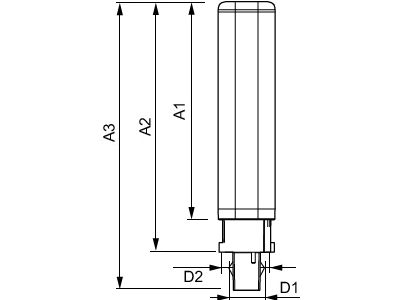
- Läbimõõt 33.4 mm
- Pikkus 170.6 mm
- Kaitseaste (IP) IP20
- Energiatõhususe indeks (EEI) 0.137
- Lambi nimetus Muul viisil
- Lülitustsüklite minimaalne arv 50000
- Kaalutud energiatarbimine 1000 tunni kohta 9 kWh
- Keskmine nominaalne eluiga 30000 h
- Fotobioloogiline ohutus standardi EN 62471 järgi RG1
- Rated luminous flux according to IEC 62612 1000 lm
- Summaarne harmooniline moonutus 0.25
- Sobib elektronliiteseade Jah
- Reguleerimisfunktsioon puudub Jah
- Energy efficiency class according to EU regulation 2019/2015 F
Kõik pildid


